Горелка инжекционная унифицированная ИУ

Горелка типа ИУ предназначена для сжигания сжиженного, природного и других газов с теплотой сгорания 17-105 МДж/м3 (4000-25000 ккал./м3) и устанавливаются в нагревательных устройствах различных областей промышленности, где нецелесообразна принудительная подача воздуха на горение.
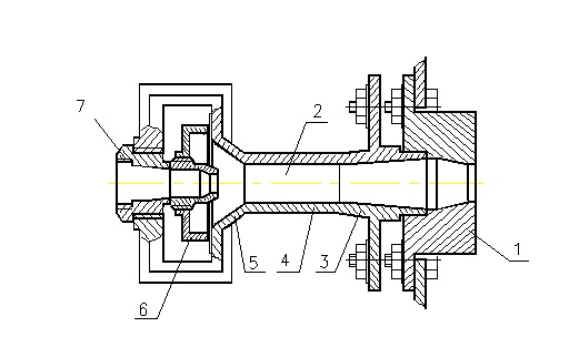
Весь воздух на горелке инжектируется газовой струей, внутри горелки образуется однородная газовоздушная смесь, которая сгорает на выходе из горелки.

Рисунок
1- кольцо; 2-корпус горелки; 3-трубка соединительная;
4- трубка переходная;5- конус стабилизирующий; 6- задвижка воздушная;7-газовый штуцер с носиком.
|
Типоразмер |
d |
dнr |
dr |
D |
D1 |
D2 |
D3 |
L |
Масса |
|
ИУ15/ drС |
G1/2 |
15 |
0,55÷2,1 |
12 |
19 |
25 |
58 |
250 |
3,6 |
|
ИУ18/ drС |
18 |
0,70÷2,4 |
15 |
22 |
29 |
68 |
265 |
3,8 |
|
|
ИУ21/ drС |
21 |
0,80÷2,8 |
17 |
26 |
34 |
78 |
290 |
4,2 |
|
|
ИУ24/ drС |
24 |
0,95÷3,1 |
19 |
30 |
40 |
92 |
325 |
6,5 |
|
|
ИУ28/ drС |
28 |
1,10÷3,5 |
23 |
34 |
45 |
105 |
345 |
6,7 |
|
|
ИУ32/ drС |
G3/4 |
32 |
1,35÷4,1 |
26 |
40 |
52 |
120 |
300 |
7,4 |
|
ИУ37/ drС |
37 |
1,50÷4,6 |
30 |
46 |
60 |
138 |
450 |
8,3 |
|
|
ИУ42/ drС |
42 |
1,70÷5,3 |
34 |
52 |
65 |
150 |
490 |
9,5 |
|
|
ИУ48/ drС |
48 |
1,90÷5,9 |
39 |
60 |
76 |
175 |
560 |
12,0 |
|
|
ИУ56/ drС |
56 |
2,2÷6,9 |
45 |
70 |
82 |
192 |
630 |
15,0 |
|
|
ИУ65/ drС |
65 |
2,5÷7,9 |
53 |
82 |
96 |
220 |
720 |
20,5 |
|
|
ИУ75/ drС |
75 |
2,9÷9,1 |
61 |
94 |
110 |
255 |
825 |
22,2 |
|
|
ИУ86/ drС |
G1 |
86 |
3,3÷1,04 |
70 |
108 |
126 |
290 |
935 |
35,0 |
|
ИУ100/ drС |
100 |
3,9÷12,2 |
81 |
124 |
142 |
325 |
1100 |
45,2 |
Купить или заказать "Горелка инжекционная унифицированная ИУ", а также узнать оптовые цены можно через форму заказа или по тел.: (067)579-75-35. Доставка по всем городам Украины ;
Еще не вступили в наш телеграм? Тогда ждем Вас

