Горелка газовая блочная ГГСБ-0,63

Горелка газовая блочная типов ГГСБ-0,63; 0,85; 1.4; 1,8; 2,2; 2,8 используется как в стационарных, так и в транспортабельных автоматизированных отопительных котлах и служит для сжигания природного газа. Горелка газовая блочная предназначена для водогрейных и паровых котлов с избыточным давлением и теплопроизводительностью до 2,0 МВт.
Горелка газовая блочная имеет двухступенчатое регулирование теплопроизводительности, номинальную тепловую мощность до 2,2 МВт, давление в топке составляет не более500 Па, присоединительное давление газа 40 кПа, а давление газа перед горелкой до 20 кПа. Горелка газовая блочная расходует не более 223 нм?/ч газа.
Масса ГГСБ-0,63; 0,85; 1.4; 1,8; 2,2; 2,8 составляет 224 кг, габаритные размеры не более 1170х1150х774 мм и масса стойки управления 86 кг.
Технические характеристики
|
|
среднее |
низкое |
|
1. Номинальная тепловая мощность, МВт |
0,63 |
|
|
2. Расход природного газа: - при номинальной тепловой мощности, нм3/ч |
60 |
|
|
- при минимальной тепловой мощности, нм3/ч |
16 |
|
|
3. Присоединительное давление газа, кПа, не более |
40 |
4 |
|
4. Номинальное давление газа перед горелкой, кПа, не более |
20 |
2 |
|
5. Номинальное давление воздуха перед горелкой, кПа, не более |
1,1 |
|
|
6. Номинальная длина факела, м |
1,3 |
|
|
7. Давление в камере сгорания, кПа, не более |
0,5 |
|
|
8. Потребляемаяэл. мощность, кВА, не более |
1,5 |
|
|
9. Масса, кг, не более* |
95 |
|
|
10. Габаритные размеры, мм, не более* |
|
|
|
длина |
780 |
|
|
ширина |
750 |
|
|
11. Напряжение питания, В |
380/220 |
|
|
12. Система зажигания - искровая от высоковольтного трансформатора |
|
|
|
* Арматурная группа блок КГР (комплект газовой разводки) «Термобрест» . |
||

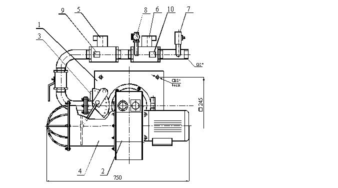
1 - корпус горелки 2 - блок вентилятора 3 - система пропорционального регулирования газ-воздух 4 - воздушная заслонка; 5 - рабочий клапан, 6 - отсечной клапан, 7 - трехходовой кран для манометра, 8 - клапан запальника, 9 - датчик давления газа «высокое», 10 - датчик давления газа «низкое».
Купить или заказать "Горелка газовая блочная ГГСБ-0,63", а также узнать оптовые цены можно через форму заказа или по тел.: (067)579-75-35. Доставка по всем городам Украины ;
Еще не вступили в наш телеграм? Тогда ждем Вас

