Пневмоклапан ПКР-122-16, ПКР-122-12, ПКР-112-25, ПКР-211-40, В57-13, В57-14, В57-16, В57-26

Пневмоклапан редукционный П-КР, В57 с пневматической или ручной настройкой давления на выходе служат для понижения и поддержания на заданном уровне давления сжатого воздуха в пневматических приводах и системах различного технологического оборудования.
Климатическое исполнение клапанов УХЛ, категория размещения 4 по ГОСТ 15150.
Пневмоклапаны рассчитаны для работы на сжатом воздухе, очищенном не грубее 10 класса по ГОСТ 17433-80, при температуре окружающей среды от 5º до 45ºС и относительной влажности до 80%
Пневмоклапан с пневматической настройкой ПКРМ 211-40, настраивается дистанционно с помощью сжатого воздуха подаваемого в камеру управления (отв. М10х1). Для этой цели применяется пневмоклапан ПКР 122-12.
Пневмоклапаны П-КРМ поставляются без манометра.
Исполнения пневмоклапанов П-КРМ122-12, П-КРМ122-16, П-КРМ112-25 и П-КРМ211-40:
по виду настройки давления на выходе:
- с ручной настройкой (ПКР 122-12, ПКР 122-16, ПКР 112-25)
- с пневматической настройкой (ПКР 211-40)
по виду монтажа:
- для трубного монтажа (П-КРМ 122-25, П-КРМ 211-40)
- для панельного монтажа (П-КРМ 122-12, П-КРМ 122-16)
Устройство и принцип действия ПКР, В57

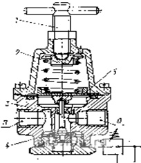
Регуляторы давления с резиновой диафрагмой имеют более простую конструкцию и высокую надежность в работе в сравнении с поршневыми регуляторами. Регулятор давления типа В57-1 показан на рис. Сжатый воздух подается к штуцеру через резьбовое отверстие П в корпусе 8. При впуске сжатого воздуха пружина 2 через толкатель 7 отжимает клапан 6 от плоскости корпуса и в образовавшийся кольцевой зазор между резиновой шайбой 4 клапана и торцом центрального отверстия корпуса воздух попадает в отверстие О, а затем в воздухопровод системы. Одновременно сжатый воздух через отверстие К поступает в полость М и на-имая на диафрагму 3, уравновешивает силу давления пружины 2. При уменьшении давления сжатого воздуха в системе, к которой подключен выходным отверстием О регулятор, ниже установленной величины указанное равновесие нарушится. Диафрагма 3 под действием пружины 2 прогнется и через толкатель 7 отожмет клапан 6, увеличив поступление сжатого воздуха из отверстия П в выходное отверстие О. Клапан 6 будет открыт, пока давление в выходном отверстии О и в полости М не повысится до заданной велнчины, и диафрагма 3, сжимая пружину 2, выпрямится. Следовательно, давление на выходном отверстии О регулятора поддерживается постоянным и соответствует силе пружины 2. Заданное давление сжатого воздуха на выходном отверстии О регулируется винтом I, сжимающим пружину 2. Когда пружина 2 разжата, клапан 6 с резиновым кольцом 4 под действием пружины 5 перекрывает проход воздуха из отверстия П в отверстие О. Для лучшего уплотнения в клапан 6 установлено кольцо 4 из маслостойкой резины.
Основные параметры и размеры регуляторов регламентированы ГОСТ 18468-73.
|
Наименование параметров |
ПКРМ 122-12, В57-13 |
ПКРМ 122-16, В57-14 |
ПКРМ 112-25, В57-16 |
ПКРМ 211-40 |
|
|
Условный проход, мм |
12 |
16 |
25 |
40 |
|
|
Номинальное давление, МПа (кгс/см2) |
|
1,0 (10) |
|||
|
Пределы настройки давления воздуха на выходе из клапана, МПа (кгс/см2) |
0,05-0,90 (0,5-9) |
||||
|
Номинальный расход воздуха при давлении на выходе 0,4 МПа, м3/мин |
0,8 |
1,6 |
4 |
10 |
|
|
Вид настройки |
Ручная |
пневматич. |
|||
|
Присоединительная резьба |
К3/8" |
К1/2" |
К 1" |
М48х2 |
|
|
Масса с учетом манометра, кг |
1 |
2 |
3,5 |
||
Купить или заказать "Пневмоклапаны редукционные 122, 211, В57", а также узнать оптовые цены можно через форму заказа или по тел.: (067)579-75-35. Доставка по всем городам Украины ;
Еще не вступили в наш телеграм? Тогда ждем Вас

