
Общие сведения
Маслораспылители для подачи масла в пневмосети серии LN поставляются с присоединительными резьбами G1/4 - G1" в исполнении с металлическим защитным стаканом. Лубрикаторы серии LN используются для подачи в воздух масла, для смазки трущихся частей пневматических элементов. Маслораспылитель снабжен дросселем, позволяющим регулировать объем масла подаваемого в систему. В маслораспылитель необходимо заливать масло для пневматических систем с кинетической вязкость 32мм2/с, ISO VG32 тип D по DIN 51502.
Для эффективной работы маслораспылителя он должен выбираться таким образом, чтобы падение давления на нем при планируемом расходе составляло 0,2-0,4 Бар. При падении давления ниже 0,2 Бар необходимо выбрать маслораспылитель с меньшим присоединительным размером и наоборот взять маслораспылитель с большим присоединительным размером при большом падении давления.

Технические характеристики маслораспылителя серии LN
| Рабочая среда | Воздух | |||||||
| Конструкция | Двухкамерная с распылителем и регулятором | |||||||
| Материалы | Алюминий, технополимер, нейлон, NBR, POM | |||||||
| Присоединение | M5-G1” |
|||||||
| Крепление | Вертикальное крепление | |||||||
| Максимальное входное давление | 10 Бар | |||||||
| Диапазон регулирования давления | 1.5~8.5 Бар | |||||||
| Рекомендуемое масло | Турбинное масло №ISO VG32 | |||||||
| Диапазон рабочих температур | -10~60 °С | |||||||
| Слив конденсата | Полуавтоматический и автоматический | |||||||
| Модель | LN10 | LN20 |
LN40 | LN60 | ||||
| Присоединительная резьба | M5, G1/8” | G1/8”, G1/4”, G3/8” |
G3/8”, G1/2”, G3/4” | G3/4”, G1” | ||||
| Номинальный расход, Нл/мин | 500 | 1700 |
3500 | 11500 | ||||
| Минимальный расход для стабильной работы, Нл/мин | 30 | 100 | ||||||
| Максимальный объем масла, мл | 100 | 200 | ||||||
| Наличие защитного стакана | - |
+ | + | + | ||||
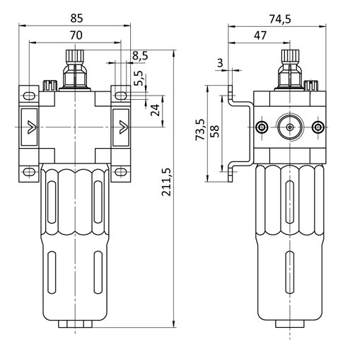
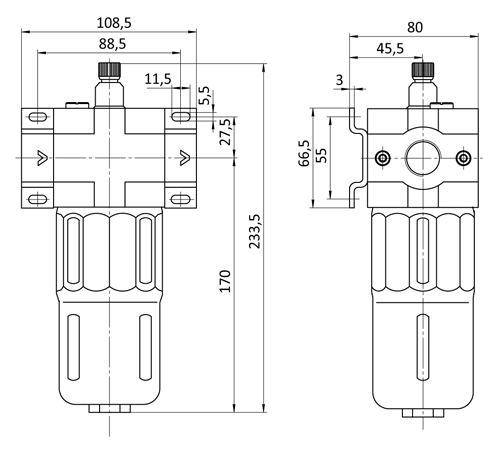
Габаритные и присоединительные размеры маслораспылителя серии LN
SA-LN10-M5, SA-LN10-06

SA-LN20-06, SA-LN20-08, SA-LN20-10

SA-LN40-10, SA-LN40-15, SA-LN40-20

SA-LN60-20, SA-LN60-25


Купить или заказать "Маслораспылители серии SA-LN", а также узнать оптовые цены можно через форму заказа или по тел.: (067)579-75-35. Доставка по всем городам Украины ;
Еще не вступили в наш телеграм? Тогда ждем Вас

