Клиновая задвижка типа 2с
Клиновая задвижка предназначена для отключения (включения) трубопроводов воды и водяного пара.
Клиновая задвижка может устанавливаться как на горизонтальных, так и на вертикальных участках трубопроводов.
При установке на вертикальных участастках задвижек с электроприводом необходима установка дополнительной опоры под привод во избежание деформации бугеля. Присоединение к трубо-проводам при помощи сварки.
Соединение корпуса с крышкой - безфланцевое самоуплотняющееся; затвор клиновый, двухдисковый с распорным элементом в виде грибка.
Управление задвижками при помощи встроенного электропривода (Э) и маховика (М). Конструкция задвижки адаптирована под применение электроприводов производства Бердского электромеханического завода, Чебоксарского завода электроники и механики и
Тулаэлектропривод. Основные технические характеристики приведены в таблице.
Основные детали клапанов выполнены из следующих материалов:
Корпус, крышка-сталь 25Л;
Тарелка-сталь 38Х2МЮА
Седло-сталь 20 с наплавкой 20X13.
| Обозначение изделия | DNмм | PP. Мпа | t,°C | ξ | Мкр,Нм | П | Способ управ-ления | d | D | L | н | A | Полная масса, кг |
| 2С-30-1 | 80 | 10,0 | 450 | 1,0 | 120 | 14 | Ц | 77 | 90 | 350 | 621 | 86 | 84 |
| 2С-31-1 | 80 | 10,0 | 450 | 1,0 | 120 | 14 | К | 77 | 90 | 350 | 453 | 86 | 85 |
| 2С-35-1 | 80 | 6,3 | 425 | 1,0 | 290 | 14 | М | 81 | 90 | 350 | 511 | 86 | 64 |
| 2С-33-1 | 80 | 6,3 | 425 | 1,0 | 120 | 14 | Ц | 81 | 90 | 350 | 621 | 86 | 84 |
| 2С-34-1 | 80 | 6,3 | 425 | 1,0 | 120 | 14 | К | 81 | 90 | 350 | 453 | 86 | 85 |
| 2С-32-2 | 100 | 10,0 | 450 | 0,86 | 290 | 14 | М | 93 | 108 | 350 | 511 | 86 | 70 |
| 2С-30-2 | 100 | 10,0 | 450 | 0,86 | 120 | 14 | Ц | 93 | 108 | 350 | 621 | 86 | 90 |
| 2С-31-2 | 100 | 10,0 | 450 | 0,86 | 120 | 14 | К | 93 | 108 | 350 | 453 | 86 | 91 |
| 2С-35-2 | 100 | 6,3 | 425 | 0,86 | 290 | 14 | М | 97 | 108 | 350 | 511 | 86 | 70 |
| 2С-33-2 | 100 | 6,3 | 425 | 0,86 | 120 | 14 | Ц | 97 | 108 | 350 | 621 | 86 | 90 |
| 2С-34-2 | 100 | 6,3 | 425 | 0,86 | 120 | 14 | К | 97 | 108 | 350 | 453 | 86 | 91 |
| 2С-251 | 150 | 10,0 | 450 | 0,8 | 290 | 21 | м | 142 | 160 | 450 | 661 | 148 | 153 |
| 2С-25-1Н | 150 | 6,3 | 425 | 0,8 | 290 | 21 | м | 147 | 160 | 450 | 661 | 148 | 153 |
| 2С-26-1 | 150 | 6,3 | 425 | 0,8 | 120 | 21 | ц | 147 | 160 | 450 | 771 | 148 | 167 |
| 2С-27-1 | 150 | 6,3 | 425 | 0,8 | 120 | 21 | к | 147 | 160 | 450 | 603 | 148 | 169 |
| 2С-28-1 | 150 | 10,0 | 450 | 0,8 | 120 | 21 | Ц | 142 | 160 | 450 | 771 | 148 | 167 |
| 2С-29-1 | 150 | 10,0 | 450 | 0,8 | 120 | 21 | К | 142 | 160 | 450 | 603 | 148 | 169 |
| 2С-25-2Н | 200 | 6,3 | 425 | 1,0 | 290 | 21 | М | 203 | 220 | 550 | 661 | 148 | 177 |
| 2С-26-2Н | 200 | 6,3 | 425 | 1,0 | 120 | 21 | Ц | 203 | 220 | 550 | 771 | 148 | 193 |
| 2С-27-2Н | 200 | 6,3 | 425 | 1,0 | 120 | 21 | К | 203 | 220 | 550 | 603 | 148 | 193 |
| 2С-28-2Н | 200 | 10,0 | 450 | 1,0 | 120 | 21 | Ц | 195 | 220 | 550 | 771 | 148 | 193 |
| 2С-29-2Н | 200 | 10,0 | 450 | 1,0 | 120 | 21 | К | 195 | 220 | 550 | 603 | 148 | 193 |
| 2С-26-ЗН | 250 | 6,3 | 425 | 0,6 | 340 | 27 | Ц | 254 | 280 | 650 | 1018 | 188 | 360 |
| 2С-27-ЗН | 250 | 6,3 | 425 | 0,6 | 340 | 27 | К | 254 | 280 | 650 | 856 | 188 | 341 |
| 2С-28-ЗН | 250 | 10,0 | 450 | 0,6 | 340 | 27 | Ц | 244 | 280 | 650 | 1018 | 188 | 360 |
| 2С-29-ЗН | 250 | 10,0 | 450 | 0,6 | 340 | 27 | К | 244 | 280 | 650 | 856 | 188 | 341 |
| 2С-26-4Н | 300 | 6,3 | 425 | 1,0 | 340 | 27 | ц | 303 | 325 | 750 | 1018 | 188 | 374 |
| 2С-27-4Н | 300 | 6,3 | 425 | 1,0 | 340 | 27 | к | 303 | 325 | 750 | 856 | 188 | 356 |
| 2С-28-4Н | 300 | 10,0 | 450 | 1,0 | 340 | 27 | ц | 290 | 325 | 750 | 1018 | 188 | 374 |
| 2С-29-4Н | 300 | 10,0 | 450 | 1,0 | 340 | 27 | к | 290 | 325 | 750 | 856 | 188 | 356 |
| 2С-26-5Н | 350 | 6,3 | 425 | 0,9 | 320 | 32 | ц | 354 | 386 | 850 | 1143 | 223 | 475 |
| 2С-27-5Н | 350 | 6,3 | 425 | 0,9 | 320 | 32 | к | 354 | 386 | 850 | 981 | 223 | 448 |
| 2С-34-1Э | 80 | 6,3 | 425 | 1,0 | 290 | 14 | э | 81 | 90 | 350 | 814 | 86 | 90 |
| 2С-311Э | 80 | 10,0 | 450 | 1,0 | 290 | 14 | э | 77 | 90 | 350 | 814 | 86 | 90 |
| 2С-34-2Э | 100 | 6,3 | 425 | 0,86 | 290 | 14 | э | 97 | 111 | 350 | 814 | 86 | 94 |
| 2С-31-2Э | 100 | 10,0 | 450 | 0,86 | 290 | 14 | э | 93 | 111 | 350 | 814 | 86 | 94 |
| 2С-27-1Э | 150 | 6,3 | 425 | 0,8 | 290 | 21 | э | 147 | 160 | 450 | 603 | 148 | 188 |
| 2С-Э-1 | 150 | 10,0 | 450 | 0,8 | 290 | 21 | э | 142 | 160 | 450 | 964 | 148 | 188 |
| 2С-27-2Э | 200 | 6,3 | 425 | 1,0 | 290 | 21 | э | 203 | 220 | 550 | 603 | 148 | 213 |
| 2С-Э-2 | 200 | 10,0 | 450 | 1,0 | 290 | 21 | э | 195 | 220 | 550 | 964 | 148 | 213 |
| 2С-27-ЗЭ | 250 | 6,3 | 425 | 0,6 | 290 | 27 | э | 254 | 280 | 650 | 856 | 188 | 417 |
| 2С-Э-3 | 250 | 10,0 | 450 | 0,6 | 1020 | 27 | э | 244 | 280 | 650 | 1335 | 188 | 417 |
| 2С-27-4Э | 300 | 6,3 | 425 | 1,0 | 1020 | 27 | э | 303 | 325 | 750 | 856 | 188 | 432 |
| 2С-Э-4 | 300 | 10,0 | 450 | 1,0 | 1020 | 27 | э | 290 | 325 | 750 | 1335 | 188 | 432 |
| 2С-Э-5 | 350 | 6,3 | 425 | 0,9 | 960 | 32 | э | 354 | 386 | 850 | 1460 | 223 | 621 |
![]() |
![]() |
![]() |
| Задвижка DN 80, 100 с маховиком Тип 2с-32, 2с-35 | Задвижка ВТ 150, 200 с маховиком Тип 2с-25 | Задвижка с электроприводом Тип 2с-Э-3, 2с-Э-4, 2с-Э-5, 2с-25-6Э |
![]() |
![]() |
![]() |
| Задвижка с электроприводом 2с-Э-1, 2с-Э-2 | Задвижка с коническим редуктором 2с-31-1, 2с-34-1, 2с-31-2, 2с-34-2, 2с-27, 2с-29 | Задвижка с электроприводом 2с-33-1Э, 2с-30-1Э, 2с-33-2Э, 2с-30-2Э |
![]() |
||
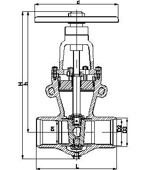
| Задвижка DN 80...350 с цилиндрическим редуктором 2с-30-1, 2с-33-1, 2с-30-2, 2с-33-2, 2с-26, 2с-28 |
Купить или заказать "Клиновая задвижка типа 2с", а также узнать оптовые цены можно через форму заказа или по тел.: (067)579-75-35. Доставка по всем городам Украины ;
Еще не вступили в наш телеграм? Тогда ждем Вас








